
一、出租方承诺
我方(南宁师范大学)作为出租方,向北部湾产权交易所(以下统称“交易所”)提出申请,将我方持有的标的公开招租,由交易所公开发布招租信息并组织竞租。我方依照公开、公平、公正、诚信的原则作出如下承诺:
㈠本次公开招租是我方真实意愿表示,招租的产权权属清晰,我方对该产权拥有完全的房屋所有权或处置权且实施不存在任何限制条件;
㈡我方公开招租的相关行为已履行了相应程序,经过有效的内部决策,并获得相应批准;
㈢我方所提交的有关招租标的相关材料,内容真实、完整、合法、有效,不存在虚假记载、误导性陈述或重大遗漏;
㈣我方在公开招租过程中,遵守法律法规规定和交易所的相关规则,按照有关要求履行我方义务。
我方保证遵守以上承诺,如违反上述承诺或有违规行为,给交易相关方造成损失的,我方愿意承担法律责任及相应的经济赔偿责任。

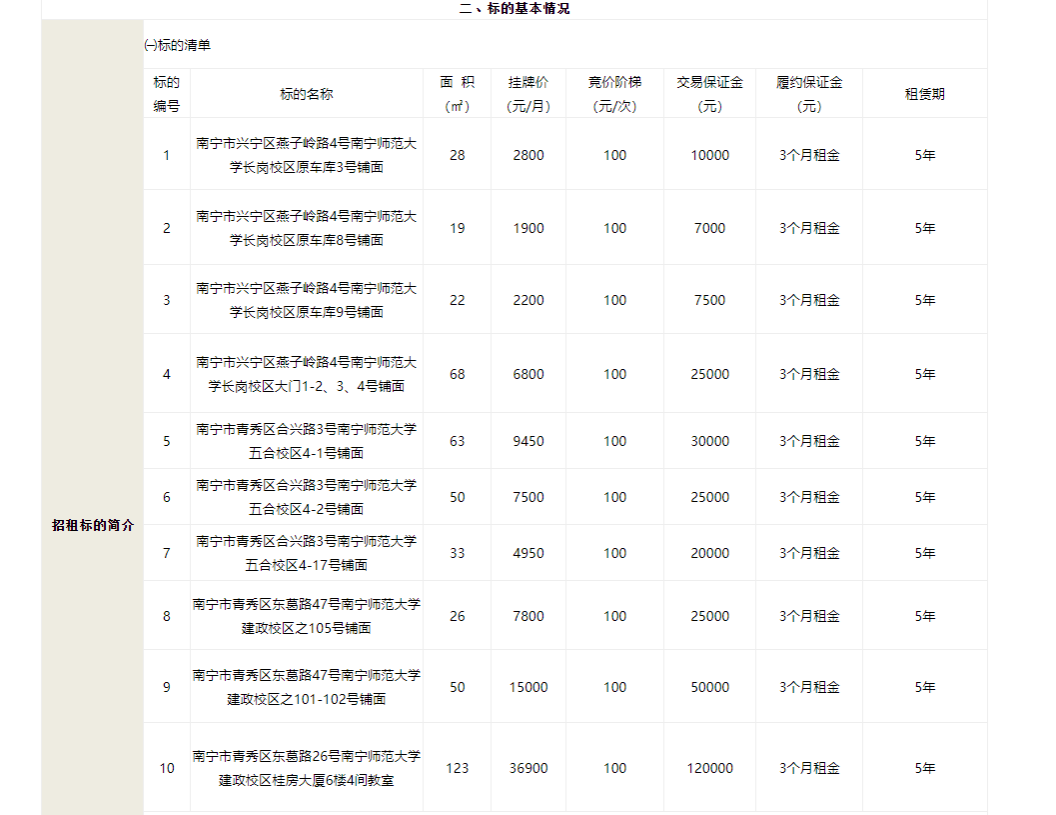
㈡标的简况
本次招租标的分别位于南宁师范大学长岗校区、五合校区、建政校区内,10间商铺现在均为闲置,无原租户。
备注:
1.标的按现状招租和交付,意向承租方应在公告截止日前到现场查看出租标的、向出租方咨询。以充分了解出租标的状况,凡参加竞租者均视同已经实地踏勘和咨询,确认接受出租标的范围、面积、瑕疵等现状。
2.上述面积数据仅供参考,成交租金不因面积增减而调增或调减。
3.不设立居住权。
4.招租标的证照齐全。


四、交易指南
交易方式
动态报价
报价方式:多次(递增)报价
自由报价时间:2024年6月13日10:00-2024年6月20日10:00
限时报价周期:180秒
竞价阶梯:100元/次
竞租登记
竞租登记手续
1.报名方式
网上报名
2.报名手续
报名流程:会员注册、报名—报名资格审核—交纳保证金—参与报价。
(1)会员注册、报名
意向承租方需在报名截止日17:00之前自行登录交易所网站(http://www.bbwcq.com/),点击本项目对应的“报名”键进入登录界面进行会员注册、报名并上传报名材料。报名前应仔细阅读《报名须知》内的《竞买人条款》(包括意向承租方承诺、网络竞价须知)、《电子竞价风险及接收确认书》等文件,一经报名(点击同意)则视为充分了解并接受文件全部内容。
需上传的报名材料包括:
①主体资格证明材料。
1)法人:营业执照、法定代表人(或单位负责人)身份证明及其身份证(核对原件,留存复印件);
2)非法人组织:可证明其主体资格的相关材料;
3)自然人:本人身份证(核对原件,留存复印件);
②法人非法人组织提供“信用中国”网站(www.creditchina.gov.cn)下载的信用报告;
③自然人提供无违法记录声明(附件4);
④授权委托书原件及委托代理人身份证(核对原件,留存复印件)(附件1)。
(备注:以上材料均需加盖公章(法人、非法人组织)或签字按手印(自然人)。)
(2)报名资格审核。交易所对意向承租方上传的报名材料予以审核,审核结果通过交易系统、电话、短信等方式反馈。报名材料需要更正的,意向承租方最迟应在自由竞价结束前半小时前完成报名材料的补充、修正手续,逾期未完成补充修正手续或补充修正后仍不符合承租资格条件的,均按资格审核不通过处理,不再接收补正申请。
(3)交纳保证金。意向承租方进行会员注册、报名后即可交纳保证金。在报名截止日17:00前按照系统发送的短信提示将意向保证金缴到交易所指定账户(以到账为准,不计利息),意向承租方通过报名资格审核后,意向保证金自动转为交易保证金。(注意事项:①意向承租方交纳保证金须以注册会员时绑定的银行账户交纳,未以该账户交纳或者他人代缴视为无效保证金。②E交易系统推送的每项资金账户为对应该项资金的专款专户,该账户不做其他项目及其他用途使用,意向承租方须将每项资金缴入对应账户,否则视为无效金额。)
(4)参与报价。报名资格审核通过且交易保证金足额到账后,交易系统以短信形式发送竞价登录账号和密码,意向承租方按照短信通知的时间登录e交易报价系统进行竞价,按价格优先、时间优先原则确定最高有效报价者为承租方。
3.注意事项
(1)竞租人须妥善保管本人的账户及密码,任何以注册账户登录和参与竞租的操作,均视为本人的行为,因竞租人原因导致其账户信息泄露而造成的一切后果由竞租人负责,交易所均不承担任何责任。
(2)办理成交相关的各项手续的主体应当与竞租人在交易系统注册、报名的竞租主体为同一人。
交易保证金
及其相关规定
1.参与本项目需交纳交易保证金:详见标的清单,需在信息披露期满前缴到交易所账户。
2.为保护交易各方的合法权益,杜绝非真实意向承租方,交易所在此作出特别提示,意向承租方一旦通过资格确认且交纳保证金,即视为对如下内容予以认可:非因出租方原因,如意向承租方存在以下任何一种情形时,视为意向承租方违约,其已交纳的交易保证金不予退还,在交易所扣除意向承租方应交纳的交易费用后,出租方有权扣除意向承租方已交纳的剩余保证金作为补偿,保证金不足以补偿的,出租方可按实际损失继续追诉,且有权取消意向承租资格(包括已取得的最终承租资格)。 交易所扣除意向承租方和出租方应交纳的交易费用的计算标准为:按挂牌底价为基数计算。
(1)报名受让同一标的的所有意向承租方在竞价过程中均不应价的;
(2)提供虚假资料致使竞价无效;
(3)竞价成交后被发现不符合承租方资格条件;
(4)被确认为承租方后未按时与交易所签署成交确认文件,或故意拖延(超过约定时间10天)不与出租方签署交易合同;
(5)被确认为承租方后未按时足额支付成交价款或竞价服务费;
(6)与他人串通,损害国家、集体或他人的合法权益;
(7)扰乱交易秩序,使交易活动无法进行;
(8)违反法律法规或交易所交易规则规定的其他情形。
3.违约方需承担守约方为实现合法权益所支出的各项费用(包括但不限于律师费、诉讼费、保全费、执行费等费用)。
4.竞价成交且不存在违约情形的,意向承租方已缴纳的交易保证金扣除应交竞价服务费后的剩余部分,在交易所收到出租方提供的生效《租赁合同》后全额无息返还。
5.未成交者的交易保证金将于竞价结束后5个工作日内全额无息返还。
风险提示及其他事项说明
1.风险提示。交易所仅就出租方提供的资料负披露义务,不承担瑕疵担保责任,公告披露的信息仅作参考,标的状况以现场实物现状为准。意向承租方参与交易前应当仔细阅读本公告、“附件下载”中有关材料,通过实地踏勘、向相关部门及出租方咨询、到交易所查阅项目资料等方式对标的进行全面尽调,详细了解法律法规、政策、市场等各项因素,以充分了解标的的历史情况、现状和潜在风险。一旦参与交易报名则视为意向承租方已充分了解并接受标的的全部现状及瑕疵,完全知悉本公告及相关文件的全部内容并接受约束,愿意承担一切交易风险。参与交易报名或成交后不得以不了解标的状况或标的有瑕疵、不了解交易规则或法律法规等为由拒绝履行应价、签约、交割、支付成交价款或服务费等相应受让义务,否则视为违约或恶意磋商,交易所、出租方有权按照约定处置交易保证金,经过催告仍未履行的,出租方有权单方解除交易,追究缔约过失或违约责任,并另行处置标的。
2.标的需要说明的特殊事项:无。
3.意向承租方请务必遵照e交易平台(http://www.ejy365.com/)的《e交易平台产权交易操作指南》以及《北部湾产权交易所网络电子竞价规则》等要求了解标的情况、竞买资格、注册报名、保证金交纳、竞买操作及款项支付方式等内容。如未全面了解相关内容,违反相关规定,您将承担无法参与项目竞买、保证金不予退还等不利后果,请审慎参与竞买。在竞价操作过程中如出现系统异常等情形的,意向承租方应及时联系并告知交易所工作人员,以便交易所在核实情况后及时作出处理,否则由此造成的一切损失及不利后果将由您自行承担。
4.标的产权证件等相关资料可在交易所查阅。
联系方式
标的咨询
产交所:张经理 0771-5757533 18978887123
出租方:唐老师 13807711328
报名咨询
罗经理 0771-5885208
咨询时间
工作日:北京时间上午8:00-12:00 下午15:00-18:00
监督电话
0771-5808839
联系地址
南宁市青秀区枫林路18号宏桂大厦裙楼(广西国资交易中心)
五、相关附件下载
附件材料
1.授权委托书.doc
2.标的照片.zip
3.房屋租赁合同(范本20240613).doc
4.无违法记录声明.docx
特别声明
关于意向承租方/竞价成交人的违约情形以及违约责任等与意向承租方有重大利害关系的内容,以本公告及北部湾产权交易所有关规定为准。本公告及北部湾产权交易所官方网站披露的其他交易机构制定的交易规则,仅适用其技术性操作条款。